在世界各地許多礦山的黃金采收過程中,經常會用到活性炭。活性炭被用于碳浸法(CIL)和碳漿法(CIP)兩種工藝流程中。碳浸法和碳漿法都是從礦漿中或通過氰化工藝獲得的溶液中采收黃金(Au)。根據世界黃金協會提供的數據,從氰化工藝采收的黃金比通過任何其它工藝采收的黃金都要多。
氰化提金法是一種濕法冶金工藝,這種工藝通過將含金礦石轉化為一種水溶性配合物的方法提煉出黃金。活性炭的作用是從這種溶液中吸附黃金。然后將吸附在活性碳上的黃金剝離下來,再對黃金進行電解沉積處理,并對黃金進行熔煉,制成金條。
對活性炭中金和其它元素的含量進行監測,可以優化采金工藝,并提高黃金的采收量。Vanta便攜式XRF分析儀因其速度快,使用方便,且可以顯著提高準確度和精度的特性,成為一款可以輔助礦山現場實驗室中傳統實驗設備的工具。
Vanta分析儀可以在整個礦物循環的各個階段中,為固體或液體樣本中的30多種元素提供從痕量水平到百分比水平的準確的化學成分信息。作為采金工藝的一個環節,可以使用Vanta分析儀對每個箱罐中活性炭的黃金負載量進行測量,所測量的既可以是未經準備的粗質活性炭,也可以是經過細磨后的活性炭。
不同活性炭的金含量差異很大,其最高值經常可達1萬克/噸(即1%)。Vanta分析儀可用于監測來自不同礦址的活性碳中的銀、銅和鈣。
監測活性炭中的鈣有很大用處。石灰是氰化提金工藝中使用的一種物質,多次反復施用石灰劑量,會阻塞活性炭中的孔隙,從而會降低活性碳吸附黃金的能力。當探測到過多的鈣時,就表明需要使用新的活性炭,或者應該再生當前正在使用的活性炭。Vanta分析儀在檢測金、銀和銅的同時,還可以分析鈣。

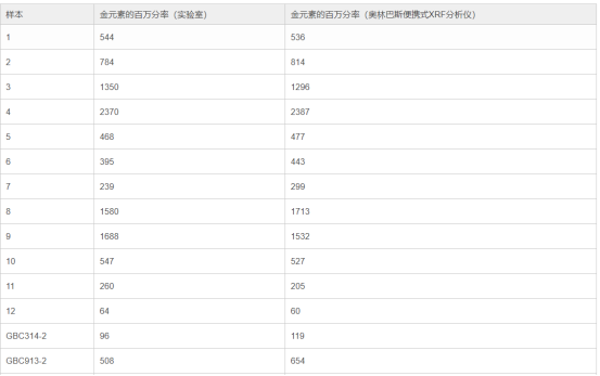
下面的圖表對Vanta分析儀與實驗室的檢測設備在檢測來自不同礦址的樣本和不同認證參考樣品時所得到的活性炭中金含量的結果進行了比較。結果表明便攜式XRF分析儀和實驗室的檢測結果高度吻合。對比結果還表明在任何礦址中都可以使用便攜式XRF分析儀監測活性炭吸附黃金的趨勢,而且便攜式XRF分析儀可以為選礦決策和實驗室的操作提供支持。



便攜式XRF分析儀已經被證明是一種監測活性炭負載黃金趨勢的有效工具。Vanta分析儀獲得的檢測結果與實驗室的檢測結果非常接近。可以使用便攜式XRF分析儀對活性炭進行實時監測,而且這種監測有助于保持活性炭較高的吸金效率,并減少了實驗室分析所需的成本和延遲。
在線客服
服務熱線
0755-29016522
17727485142
微信二維碼
返回頂部